查看: 4316

想成功的经营好一家美发店,这些套路必须了解

[复制链接]
wz*** 发表于 2019-7-24 13:14 | 显示全部楼层 |阅读模式
什么店最容易让人不由自主的剁手?美发店。

在中国,美发行业每年都有4000亿人民币的消费规模,一般人平均每个月头发长长10-12mm,交给专业的人理发是一种相对明确而高频的需求。但有趣的是,目前行业并没有出现巨头,且品牌规模及从业人群能力呈分散状,还出现出了越来越多的槽点:夸张到不靠谱的价格,总想着圈钱的会员卡,各种来历不明的产品,乡村非主流音乐,永远不会满意的发型,喋喋不休的发型师和奇怪的审美。

综上,我们可以概括为美发行业中的明显痛点:价格不透明、强制办卡、非标程度高,品牌与用户的信息不对称严重影响了用户体验。所谓生活处处即套路,前几天,打6折剪头发都要思考一下的我,心甘情愿的在某个美发店“挥霍”了1500块巨款,经历了两天翻来覆去的沉思,有了以下的思考。

在广州,有这么一间理发店,为方便称呼,我们就姑且称之为A店。

A店在广州仅一年时间里,从0到1,快速扩张成了有6间直营店铺的“潜力独角兽”,从我的初始体验里,这家店有以下几个特点:开店选址集中在富人区;拔高客单价,突出会员折扣性;业务多元化;引流能力强

身为运营人,掌握一定的套路是必不可少的。毕竟所有个性的事例都蕴含共性,能让人心甘情愿掏钱的产品都有其可取之处,接下来,我们就围绕着上述的特点进行一些剖析拆解,尝试来重新认识一下“美发店的消费奥义”。

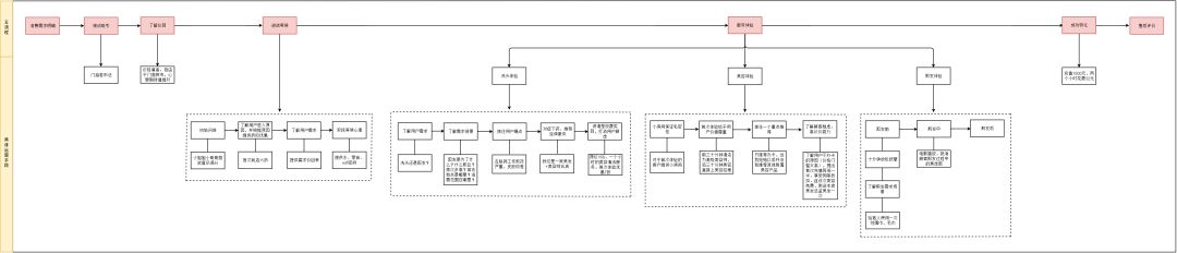
用户体验流程

20190724002522156389912286648.jpg


△  A店用户体验流程图

A店到底是怎么让用户一步步走进他们的套路,最后心甘情愿掏出钱包完成付款的呢?我认为主要有以下三个手段:

1、直接有效的引流手段

剪发,本身就是一个相对明确需求,对于女性用户而言,总有一两个Tony老师让人魂牵梦萦,而男性用户则流动性更强,也更注重于整体流程服务。而A店吸引我首次体验的原因在于长期排队的“网红效应”,在一个需求明确的用户遇到这样有着排位魅力的店,你很难不一探究竟,我认为从引流而言有三种较为直接有效的方法:

门庭若市法,常见场景为:长期排队、时常尖叫

心动低价法,常见场景为:开业优惠首次10元,即使在消费升级的今天也依然有效

以老带新法,常见场景为:会员卡共用、闺蜜推荐

2、等候时间的精细运营

当顾客走进店里时,如果是处于等位时间,服务人员会积极询问顾客到店理由、是否首次到店、有无会员卡,了解这些基础信息以后会有对应的手段降低等候的流失率,具体手段为:

提供折扣-首次到店六折/等候超过30分钟六折

提供水、零食、wifi密码

隔一段时间跟你交谈,并积极反馈你等候情况,进一步缓解你想要夺门而出的冲动

如果上述的手段对于你有效的话,恭喜你,你已经走进了长长的套路。

3、服务体验的环环相扣

我相信大多数人在洗头的时候都会被查一遍“户口”,问题类型大概有以下几种:

帅哥,第一次来吗?

住在这附近吗?

帅哥,你是做什么的呀?

帅哥,你是哪里人?

当你完成了上述的答卷以后,一个基础用户画像已经被构建出来了:一位住在附近收入不错的油腻男子,首次到店且不了解行情,从事互联网行业掉发严重、睡眠不足,无家乡口音受过高等教育。

在我看来,一开始就问:“帅哥,你要剪多少钱的头发?”这类问题的美发店都比较拮据,因为洗头小妹手上能创造高客单价的武器并不多,而我本次体验的这一家店则不一样,他们是一家美发+美容综合店。

在一番长时间的尬聊之后,洗头小妹率先使出了第一招:恐惧诉求:“帅哥,你是不是最近熬夜比较严重,脸上的黑斑都出来了。”

如果你是一位20多岁的未婚的单身青年,我相信没有人不懂这句话的威力,没什么比脸更重要的东西。

我立刻惶恐,但多年社会修炼的经验还是激发了我的心理防御机制让我忍住了心里的想法,微微一答:“嗯,我这皮肤肤质就这样。”其实我是想让她死心。

没想到对方辩友接着来了一招——认知偏差。她微微地呼唤了他们的美容师,以免费诊断为由帮我查看,仔细查看后告诉了我至少10个专业美容术语,包括XX素分泌、杆菌吸收等等。

接着使出第三招——价格诱惑,一个小时的美容清洁服务,因为你是新用户首次7折。

沦陷不分早晚,只看成效。洗头小妹最终成功诱使我增添了美容服务,另外在开始之前跟我仔细确认了项目类目和价格,彻底打消了我的顾虑。

试想一下,我们购买力最为旺盛的公式是如何组成的,我认为是:

强需求+精体验+低价格+性价比=买它

接下来,从洗发场景转入美容场景。这里主要说一下三个套路:

首次体验提供小房间,增强私密感

最后半小时由美容经理亲自上手,给予充分价值尊重

服务中提供正向反馈,并给予建议,不做广告推销

当然,最后的终极套路还当属是办卡。A店特殊的地方在于,他们的服务单价较高,而会员门槛也很高,但会员的折扣十分诱人,最低档次会员卡需要3K,给予五折优惠。起初我是明确拒绝的,因为我原本只是想剪个68块还打六折的头发,根本无法接受办卡攀升近100倍的消费。

经过几番言语交流下来,她得知我的痛点在于充值金额过高,于是对我议价至1500即可办理5折卡。

说实话,对半打折的诱惑再加上议价减半的初始金额确实非常心动,但是对于办卡用户而言,还需要考虑两样东西,即性价比和体验。

从性价比来看,这是一家美容+美发的综合店,满足了用户多元化的需求,根据每一个月的剪发需求而言,1500单纯的剪发是较为不划算的选择,但加上了美容的噱头,就不一样了。

从体验来看,整体可靠。看我久久不决,仍在犹豫不定,美容经理补上了最后一招:该次美容免费,并且本次剪发由本店总监亲自完成(价值380),只收32元。

我无力招架,终于打开了支付宝,按下了那罪恶的付款按钮。

人在冲动消费完了之后会逐渐恢复理智,对于“消费后创伤性综合征”治疗,A店明显有着更多经验。首先是果盘攻势,而后是剪发前按摩,这一切的举动都是为了能够降低用户的被欺骗感和心理厌恶程度。毕竟,美发是一门社群生意,口碑和社群传播度、满意度是极为重要的。

最后在剪发场景中,A店还给客人提供一次性围巾和毛巾,在剪发过程中还提供电影播放,抵消顾客在剪发过程中的焦虑感。

从新用户首次剪发六折——首次美容清洁七折——办卡五折,看起来理应越来越便宜的消费价格却被阶梯式的套路不断激活,最终,经历了两个小时从等候——洗发——美容——剪发,本来只是想花68元(还打6折)弄个洗剪吹的我,却成功办了一张1500元的会员卡。

策略复盘分析

复盘一下A店整体的套路流程,不难发现,他们所有的节奏都是为了一个目的而服务:办会员卡。

但A店并没有简单粗暴地把办会员卡这个目的从一开始就暴露出来,事实上,他们只有一个优惠:办理A店会员卡,美容美发首次免费。为了扩大这个漏斗顶层,创造了如进店即六折此类的拉新政策,同时减低了用户准入门槛。

20190724002522156389912245104.png


会员卡价格:A店设有7档不同充值金额、不同折扣的卡,对应如上表。付费方式并没有特殊性,皆是常见的网络支付、现金形式。

从大众点评显示,附近两公里内有多达22家不同规模的美发店,但只有A店是采用美容美发沙龙综合店的形式。从其他美发店的办卡准入门槛来看,大多数在500-1500之间,可以看出A店的模式在其中走得是中高端定位。

服务项目价格:从剪发服务来看,A店根据发型师级别划分了5档,分别为68、88、108、188、288,此外在烫染、美容方面均是100起步,可以看出A店定位在中高端人群同时也将价格拔高,用高消费来对冲会员卡高折扣的影响,从而提升毛利。

接下来我们用经典的增长模型AARRR来看一下A店围绕这五个流程做了哪些事情:

20190724002522156389912291120.png


△  AARRR增长模型

获取用户:首次进店消费即六折

提高活跃:等候期间提供零食、赠送水果、喜好电影、服务期间不断互动

提高留存:免费赠送面部清理及总监剪发1折

获取收入:阶梯制过渡68元-128元-1500元

自传播:暂无

A店的运营套路其实很能给人启发,除了没有运营网络进行自传播以外,它的其他步骤都是环环相扣,如同一个漩涡或者天坑,让人不由自主地往下陷落。此外,办卡本质上是绑定了用户后续消费的路,用户首次体验尤为关键,如果砸了,基本是不可挽回的用户流失,还很有可能影响产品口碑。

A店在服务触达中,还是做了大量的细微关怀,如送水果、恭维、微笑服务等人性化手段,为的就是削弱流失用户带来的负面影响。

当然,之所以用户最后原意购买,除了被套路之外,还在于它本身提供的服务:

服务多元,囊括美发和美容

价格实惠,享受5折优惠

运用广泛,所有分店均可享受

不记名卡,他人亦可使用

不设期限,随用随走

传统的美发业盈利模式与困境

尽管我最终“成功”消费了1500块,但运营人员也时常需要通过现象看本质,我觉得美发这个行业仍然不好做,因为面临着太多的“内忧外患”。

传统美发业态的现状
相信会员卡最能代表主流的美发业的盈利模式,这种模式在美发业历史悠久也一直占据主流,为什么呢?因为实体店的盈利目的都很简单,无论如何都要单店盈利。而传统美发店往往需要比较大的店面,优美的装修,大量人员的配置,这决定了这种模式本来就是很重的。

比如以广州为例,中心小区社区店60平方面积,月租金约2万,开一间200平方的店,最少花60万。这可能还不包括员工吃、住、培训等大量行规隐形成本。

而剪发恰恰是美发流程里最吃力不讨好的事情,人人都可以剪发,竞争激烈自然大家都难以赚钱。既然单纯剪发竞争这么激烈,毛利又比较低,很自然的想法就是在别的地方赚钱。

大量美发店的模式基本是:剪发保本,再通过其他高利润的产品或服务赚钱。高利润产品例如染烫,服务则是近期很热的按摩养生甚至美容。所以很多发型师都会不断正着推销你的发型好看需要护理,反着diss你的发型需要烫染。

而会员卡,则是一种提升客单价的方式,甚至可能是圈钱跑路的模式。因为有一些美发店会将会员卡大量预付卡中未消耗的金额会作为利润分给股东,导致资金链易发生断裂。为了资金链不断,美发店只能极力向用户推荐办卡、推产品、推项目。当产品推销成了美发店的核心盈利模式,所谓的一条龙服务,也不过是强加给消费者的糟心体验。

传统美发业态所面临的问题
传统理发店的盈利模式,其实就是用理发这种高频的需求的来引流,通过高利润的产品赚钱。这种盈利模式下理发的体验很糟糕。这个行业,要么就是粗暴地赚取暴利,要么就是小店只能苟活,这种状态就像70年代的九龙城寨里卖白粉。

此外我认为传统美发业还存在着以下几个通病:

1、边际交付时间较长
每个发型师的时间都是刚性的,每多增加一个客人,就必须多付出时间,即使他的技艺全国一流,一天也只能服务于有限的顾客。

这种边际交付时间相对较高的行业,类似的还有餐饮、咨询、修理、线下培训等服务型行业。说到服务,自然就引出了产品,产品的一大特点与服务正好相反,因为产品的边际交付时间是较短的。

比如各种音频课程,每多售出一份,讲师不用为此再付出时间,边际交付时间趋近于零;相反,若是线下教育机构,同样的课程,每拨学生都需要老师重新讲一遍,就让边际交付时间变得非常之长。

而边际交付时间较短的“产品”,往往能被快速复制,建立更广泛的使用或认知。比如卖到全世界的可口可乐、推广到全国的滴滴出行;而边际交付时间较长的“服务”,向外辐射的能力往往非常有限,大多是以连锁店的方式呈现,背后的逻辑是为难以量化的服务提供成本低而统一标准的体验,从而形成连锁店的网络效应。

2、预付费模式堆高负债率
美发行业与大多服务行业一样,都采用预付费模式。会员卡卖出那一刻就收到了未来三个月甚至是半年的现金流。这样做,回本周期非常快,迅速回笼资金的那一刻,创业者悬着的心就放下来了,因为做生意,几个月就收回所有投资正是梦寐以求的。

但实际情况是,当你开业头几个月,几千几万的收会员费时,这些钱还不能算是你的利润。因为今后半年甚至是数年,你都要持续为这个会员服务。

用通俗的语言解释就是,美发店收来的办卡费,按照会计准则,应该按每个月或季度计为收益。以一张年卡3000元为例,分摊到每个月只有250元的收益。当一个3000元的会员费到了美发店的账户时,多数会员的私账就成了当月收入。但实际上,这3000块是企业的负债,每过一个月,你的负债会少250元。

从经营层面来讲,就是你未来服务会员,每天都只有支出没有收入。另一个层面,高负债带来的是低风险抵御,一但整个闭环出现问题,跑路也就变成了常态。

3、利益分配不均,大家都吃不饱
以一次美发服务而言,需要经手的角色大概需要包含洗头员工、发型师、收银员,当然这里面还包含了,自己搞卫生,不含统一餐饮甚至是住宿等等成本。

一般传统美发店都是底薪+提成的模式,每单提成在25-40%之间,最后归账到企业上,最多也只有50%的利润,在现有的模式下,不做一些取舍,很难打破现有利益分配机制。

而对于老板而言,假设初始60万的投入,平均用户消费一单在100元左右,也需要起码12000单才能盈利,这就决定了在策略上,必须快速盈利。快速盈利很可能有以下一种或几种方案:

提高客户客单价,这只能是刺激办卡、不断推服务

提升交易效率,减低边际交付时间

提升服务时长,员工工作时间长,每周六天工作,每天10—12个小时

只有这样才能稳定资金入口,有了资金造就盈利才有后续的培训、福利深化可言。除了上述的内忧以外,这个行业还受到诸如传统商业铺租、人工不断攀升等等外患影响,更造就了传统商家转型非常之困难。

如何突破困境?

尽管困难重重,但在这个行业我们还是能看到一些新的曙光,比如说:

用户对新的个性化、定制化服务的认可程度和需求非常高

需要有新的模式打破平衡,重新调整利益分配

需要有更多新的场景收入

所以我们看到了更多基于解决基础需求的品牌,比如说对标QB HOUSE的星客多、优剪们。它们的特点在于目标明确,产品和价格透明、便捷且效果可预期,同时结合互联网工具提升了用户体验和效率,作为后起者,它们给出了这样一份答卷:

1、降成本
传统美发“剪头发不挣钱,烫染造型才挣钱”,整个过程下来环节多,人工成本高,需要通过提供高附加值服务才能挣钱。而快剪们想要盈利还是要走节流的路径,只有剪发服务,是决定了其区别于传统美发店的最大差异。

店内无收银员、无前台,能最大程度降低人力成本,而收银、前台则由互联网技术所代替。只配有 3-6 名发型师,降低了人力成本,而仅剪发因此所需空间不大可以降低铺租成本。

2、提效率
在服务业这样的分散市场,绝大多数公司的盈利水平都差异不大,若想获取更多的利润,核心路径还是要想办法提升交易流程的效率。

而要提升效率,核心还是要降低服务的边际交付时间。比如快剪们就用预约制,通过微信公众号进行剪发取号,智能的到店提醒。把服务本身进行模块化制作,从入门到沟通到剪发、造型、评价等方面,从而降低边际交付时间,提升效率。

另外在服务上也做了大量的减法,比如,传统剪发一般需要剪发前后各洗头一次,而快剪们则重构了这些步骤,变成“剪发前用喷壶打湿头发,剪发后用洗发器清理碎发”,剔除一切低效环节。

很多情况下,虽然你自认为提供的服务越来越好,但它也许早已经超出了多数顾客的需求。比如顾客实际上只是需要剪个刘海,修个鬓角,传统美发业却提供了高逼格的装修、舒适的座椅、让人心旷神怡的香味、高端洗发水、护发素、甚至理发师的颜值,来过度满足他们的需求。如果想降低交付时间,提高交易效率,那么给服务做减法,可能是种好解法。

3、新模式
中国的美发市场规模在几千亿元,但却始终没有出现大型的连锁品牌。相比起来,日本有开到 700 家的快剪品牌 QBHouse,欧美有拥有 4000 多家店的连锁巨头 Great Clips,说明国内市场还有非常明显的提升空间。

作为一个连锁品牌,快速扩张的前提是有稳定且可复制的单店模型,因此在策略上,快剪们更多会选择开在社区,依靠口碑传播服务周边稳定客流。

以优剪为例,加盟商的前期投入在30-35万,分别是:

装修:8万(由优剪指定装修队)

设备:2万,指吸发机等(不包括空调)

加盟费:3万(一年一万,一次性交齐3年)

押金:2万(店铺盈利后即返还)

店铺转让费:15-20万,付给上一手承租商家,租期内再次转出去能收回且有可能小赚一笔,当然也可能因为黑房东、拆迁等原因血本无归

人工:采取“底薪+提成”的方式,普通发型师的底薪为5500元,店长底薪为6500元,超出提成线的部分,60%给发型师

20190724002522156389912224526.jpg


△  经营利润情况推算表

可以看到新模式给发型师带来了更多的提成收益,而对投资方而言,据官方数据普通单店的回本周期在7-10个月,这与传统会员制度的美发店3-5个月的周期仍然有着不小的差异,但胜在负债率低,相对风险较小。

更值得考究的点在于:整套盈利模型的底层在于拥有源源不断的流量以及极高的“翻台率”,做不到上述两点该何去何从?而在我的认知中,上述两点正巧是所有服务行业梦寐以求的幻想。

最后,有两点我认为可能是值得去尝试探索的地方:

1、开发关联更多的服务场景,增加收入来源
给予用户更多的进店及消费场景,比如像美国的 Ulta Beauty,走的是美发超市+沙龙的路线。Ulta Beauty是美国美容产品连锁店,售卖化妆品、香水及美发用品,每间零售店配备一个沙龙,顾客购买之后能带到沙龙用于自己的美容美发服务,并且能够将自己的洗护用品托管在沙龙中,方便下次使用。

2、异业合作
与美妆、美甲等开展异业合作,甚至是SPA馆、宠物美容店,各类服务也可以彼此引流,在场地方那里争取更强话语权。
温馨提示:
1、本内容内由作者投稿,版权归原作者所有!
2、本站仅提供信息存储空间服务,不拥有所有权,不承担相关法律责任。
3、本内容若侵犯到你的版权利益,请联系我们,会尽快给予删除处理!
客服QQ/微信
723915236 周一至周日:09:00 - 22:00
十五年老品牌,学习网上创业赚钱,首先中创网,值得信赖!
众创网络 版权所有!

本站内容均转载于互联网,并不代表中创网立场!
拒绝任何人以任何形式在本站发表与中华人民共和国法律相抵触的言论!

信息产业部备案号 粤ICP备2022107892号

小黑屋|加入vip|手机版| 科妙网

GMT+8, 2026-5-2 23:03 , Processed in 0.075829 second(s), 28 queries , Gzip On.

快速回复 返回顶部 返回列表